Electrolux Professional WB6-90 — бар’єрна прально-віджимна машина 90 кг (300G)

Electrolux Professional WB6-90 — бар’єрна прально-віджимна машина 90 кг (300G)

Electrolux Professional WB6-90 (Line 6000 Pullman) — професійна бар’єрна прально‑віджимна машина на 90 кг, створена для пралень із розділенням «брудної» та «чистої» зон у медичних і промислових застосуваннях.
Модель має барабан 890 л (Ø 91050 мм) і забезпечує віджим до 720 об/хв із G‑factor 300, що допомагає швидше виводити вологу та підвищувати пропускну здатність пральні.

Phone        telegram       viber_icon        E-mail

Для яких задач WB6-90

WB6-90 — це прохідна (бар’єрна) машина, яка фізично підтримує організацію потоків білизни між «брудною» та «чистою» зонами й підходить для об’єктів із підвищеними вимогами до гігієни та контролю контамінації.
Вона орієнтована на професійні пральні, де важливі передбачуваний результат циклу, стабільна продуктивність, надійна ефективність і зручність щоденної експлуатації.

Продуктивність і механіка

Номінальна місткість становить 90 кг (з коефіцієнтом заповнення 1:10), що робить модель оптимальною для середніх і великих пралень із потоком постільної білизни, спецодягу та текстилю.
Барабан об’ємом 890 літрів і діаметром 1050 мм у поєднанні з віджимом 720 rpm (300G) забезпечує ефективне видалення води перед сушінням і скорочує час обробки всієї партії.

Нагрів і енергоефективність

Як стандартна альтернатива нагріву зазначається електронагрів потужністю 36 kW, а також варіант із паровим нагрівом (steam).
Нижче наведені показники споживання для програми “Normal 60°C (6H03)”, що можна використати в комерційній аргументації «вартість циклу/економіка пральні».

Дані споживання (програма Normal 60°C, 6H03)

Electric/Steam

  • Загальний час, хв: 72 (Electric) /  (Steam).

  • Витрата води (холодна/гаряча), л: 931 (Electric) / 931(Steam).

  • Споживання енергії (двигун/нагрів/гаряча вода), кВт·год: 2,3/14,67 (Electric) / 2,3/— (Steam).

  • Споживання пари, кг:  (Electric) / 32 (Steam).
    Примітки: 1) Температура води: 15°C (холодна) та 65°C (гаряча). 2) Залежить від тиску пари.

Виняткова економія та простота використання

  • Пріоритет людям: сертифікований ергономічний дизайн із людиноцентричним підходом для кращого користувацького досвіду.

  • Мікропроцесор Compass Pro: простий вибір програм, вибір мови, кнопки швидкого вибору та опцій для найчастіше використовуваних програм і налаштувань.

  • Великі двері завантаження та вивантаження для швидких і зручних операцій.

  • Нержавіюча та оцинкована сталь у всіх ключових вузлах для високого захисту від корозії.

Довгострокова економія

  • Інноваційні функції для мінімізації споживання води, енергії та миючих засобів.

  • Automatic Savings: зважує білизну та підлаштовує рівень води під завантаження (економія води й енергії при неповному завантаженні).

  • Power Balance: вимірює дисбаланс, коригує його та регулює G‑силу в реальному часі (максимізація зневоднення, економія часу/коштів на сушінні).

  • Pure control: моніторинг стану та продуктивності обладнання звідусіль для оперативних дій і покращення бізнес‑показників.

  • Пральні машини можна підключати до OnE Laundry — персонального асистента для валідації гігієни, керування процесами та керування доходами.

Основні опції (комплектація/додатково)

  • Certus Management Information System (CMIS) для простежуваності білизни відповідно до стандартів RABC (Risk Analysis and Bio contamination Control).

  • Контейнер для мийних засобів на 4 відділення.

  • Економія хімії завдяки Efficient dosing: ED перистальтичні помпи та ED Venturi.

  • Клапан титрування для відбору проб із ванни (bath sampling).

  • Другий дисплей зі сторони вивантаження для кращого контролю процесу та продуктивності.

  • Корпус з нержавіючої сталі для агресивних середовищ.

Сертифікація та ступінь захисту

  • Виробництво за ISO 9001 та ISO 14001.

  • Сертифікації: CB (Low Voltage Directive) та S‑mark (Machinery Directive).

  • Клас захисту: IP X4D.

Електричні підключення (електронагрів)

Колонки: основна напруга / фази / Гц / потужність нагріву (кВт) / загальна потужність (кВт) / рекомендований запобіжник (А).

  • 200V, 3~, 50/60: 12.5 / 12.9 / 50A.

  • 220–240V, 3~, 50/60: 9.1–10.8 / 9.4–11.1 / 35A.

  • 220–240V, 3~, 50/60: 15.1–18.0 / 15.5–18.3 / 50A.

  • 380–415V, 3~, 50/60: 9.0–10.8 / 9.4–11.1 / 20A.

  • 380–415V, 3~, 50/60: 15.0–17.9 / 15.4–18.3 / 35A.

  • 440–480V, 3~, 60: 18.0 / 18.4 / 25A.

Примітка: для варіантів без нагріву/з паровим нагрівом загальна потужність і рекомендований запобіжник не залежать від потужності нагріву.

  • 200V, 3~, 50/60: 1 / 2.4 / 10A.

Підключення води та пари

  • Водяні клапани: DN 32.

  • Тиск води: 150–400 кПа.

  • Продуктивність при 300 кПа: 60 л/хв.

  • Зливний клапан: 110 мм.

  • Продуктивність зливу: 150 л/хв.

  • Паровий клапан: DN 25.

  • Тиск пари: 300–600 кПа.

  • Подачі рідких мийних засобів: 5.

Вимоги до підлоги / шум / тепловиділення

  • Частота динамічної сили: 14.3 Гц.

  • Навантаження на підлогу при максимальному віджимі: 2.9 кН / 1.0 (як в оригіналі).

  • Рівень звукового тиску: 75 dBA.

  • Тепловиділення від встановленої потужності (макс.): 5 (значення наведено як в оригіналі без одиниць).
    Примітка: рівні звукової потужності виміряні згідно ISO 60704.

Дані відвантаження та аксесуари

  • Маса нетто: 280 кг.

  • Об’єм для відвантаження: 5,73 м³.

  • Аксесуари: сталева основа (x), комплекти шлангів для води або пари (x), додаткова IO‑плата для додаткових сигналів дозування (x).
    Примітка: дані усереднені; вага/об’єм у тарі залежать від конфігурації — для точних значень потрібні дані логістики.

Позначення елементів (за схемою)

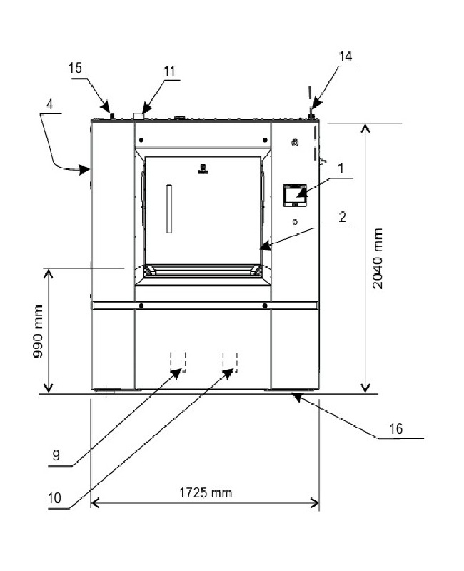
  1. Панель керування.

  2. Контейнер для мийних засобів.

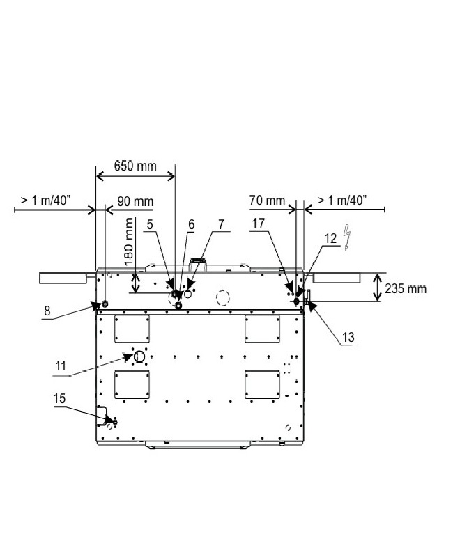
  3. Подача рідкого мийного засобу.

  4. Електричне підключення.

  5. Холодна вода.

  6. Гаряча вода.

  7. Холодна/гаряча вода.

  8. Підключення пари.

  9. Злив.

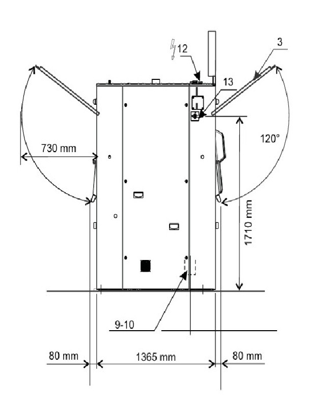
  10. Відкривання дверей, сторона завантаження: 320 × 280 мм.

  11. Відкривання дверей, сторона вивантаження: 435 мм.

  12. Цоколь.

  13. Бар’єрна рама.

  14. Бар’єрна перегородка.

Чому це вигідно?

Бар’єрний формат зменшує ризики перехресного забруднення за рахунок розділення зон, що прямо відповідає потребам лікарень, харчових і «чутливих» виробництв.
Висока швидкість віджиму (350G) допомагає зменшувати витрати часу на сушіння та підвищує throughput пральні без збільшення кількості обладнання.

Таблиця характеристик

Характеристика Значення
Модель Electrolux Professional WB6-90 (Line 6000 Pullman)
Тип Бар’єрна/прохідна прально‑віджимна машина (Barrier Washer Evolution)
Номінальна місткість 90 кг (filling factor 1:10)
Об’єм барабана 890 л
Діаметр барабана Ø 1050 мм
Віджим 720 rpm
G‑factor 300
Нагрів (стандарт) Електричний 72 kW; також варіант steam (пар) , Gas (газовий нагрів)
Дані споживання Є дані для “Normal 60°C (6H03)” 

WB6-90 — сучасна заміна попереднього покоління 50 кг

Electrolux Professional WB6-90 (Line 6000 Pullman) — актуальна модель на 90 кг, яка прийшла на зміну попередньому поколінню бар’єрних машин WSB5900H / WS5900H,  із завантаженням 90 кг, що тривалий час були стандартом у професійних пральнях.
Перехід на Line 6000 дає практичні вигоди в щоденній експлуатації: нова лінійка орієнтована на посилений контроль гігієни, підвищену безпеку оператора та зручність роботи у «чутливих» середовищах (медицина, харчові виробництва, чисті зони).

Чому WB6-90 краща

  • Сучасний “hygiene-first” підхід: Line 6000 Barrier Washers підкреслено створена для фізичного розділення «брудної»/«чистої» зон та мінімізації ризиків перехресної контамінації.

  • Додаткові інструменти безпеки та контролю процесу: для лінійки зазначено функцію Hygiene Watchdog, яка запобігає випадковому відкриванню дверей і допомагає уникати помилок персоналу в гігієнічних сценаріях.

  • Більш прогнозована продуктивність у циклі 90 кг: у WB6-90 зафіксовано місткість 90 кг (1:10), барабан 5890 л, віджим 720 rpm і G‑factor 300 — це чіткі опорні параметри для розрахунку пропускної здатності та інтеграції в технологічну схему пральні.

  • Підтверджені дані споживання: у data sheet наведені показники для програми “Normal 60°C (6H03)”, що дозволяє коректніше продавати модель через економіку циклу (вода/енергія) у комерційній пропозиції.

Придбати WB6-90 в Україні

Electrolux Professional WB6-90 — бар’єрна прально-віджимна машина 90 кг (300G)

Інші товари

  • Electrolux Professional WB6-110 — бар’єрна прально-віджимна машина 110 кг (300G)

  • Electrolux Professional WB6-70 — бар’єрна прально-віджимна машина 70 кг (300G)

  • Electrolux Professional WB6-50 — бар’єрна прально-віджимна машина 50 кг (350G)

  • Electrolux Professional WB6-35 — бар’єрна прально-віджимна машина 35 кг (350G)