Electrolux Professional WB6-70 — бар’єрна прально-віджимна машина 70 кг (300G)
Electrolux Professional WB6-70 — бар’єрна прально-віджимна машина 70 кг (300G)
Electrolux Professional WB6-70 (Line 6000 Pullman) — професійна бар’єрна прально‑віджимна машина на 70 кг, створена для пралень із розділенням «брудної» та «чистої» зон у медичних і промислових застосуваннях.
Модель має барабан 690 л (Ø 1050 мм) і забезпечує віджим до 720об/хв із G‑factor 300, що допомагає швидше виводити вологу та підвищувати пропускну здатність пральні.
Для яких задач WB6-70
WB6-70 — це прохідна (бар’єрна) машина, яка фізично підтримує організацію потоків білизни між «брудною» та «чистою» зонами й підходить для об’єктів із підвищеними вимогами до гігієни та контролю контамінації.
Вона орієнтована на професійні пральні, де важливі передбачуваний результат циклу, стабільна продуктивність, надійна ефективність і зручність щоденної експлуатації.
Продуктивність і механіка
Номінальна місткість становить 70 кг (з коефіцієнтом заповнення 1:10), що робить модель оптимальною для середніх і великих пралень із потоком постільної білизни, спецодягу та текстилю.
Барабан об’ємом 690 літрів і діаметром 1050 мм у поєднанні з віджимом 720 rpm (300G) забезпечує ефективне видалення води перед сушінням і скорочує час обробки всієї партії.
Нагрів і енергоефективність
Як стандартна альтернатива нагріву зазначається електронагрів потужністю 54 kW, а також варіант із паровим нагрівом (steam).
Нижче наведені показники споживання для програми “Normal 60°C (6H03)”, що можна використати в комерційній аргументації «вартість циклу/економіка пральні».
Дані споживання (програма Normal 60°C, 6H03)
Electric/Steam
-
Загальний час, хв: 39 (Electric) / — (Steam).
-
Витрата води (холодна/гаряча), л: 720 (Electric) / 720(Steam).
-
Споживання енергії (двигун/нагрів/гаряча вода), кВт·год: 1,86/11,62(Electric) / 1,86/— (Steam).
-
Споживання пари, кг: — (Electric) / 24 (Steam).
Примітки: 1) Температура води: 15°C (холодна) та 65°C (гаряча). 2) Залежить від тиску пари.
Виняткова економія та простота використання
-
Пріоритет людям: сертифікований ергономічний дизайн із людиноцентричним підходом для кращого користувацького досвіду.
-
Мікропроцесор Compass Pro: простий вибір програм, вибір мови, кнопки швидкого вибору та опцій для найчастіше використовуваних програм і налаштувань.
-
Великі двері завантаження та вивантаження для швидких і зручних операцій.
-
Нержавіюча та оцинкована сталь у всіх ключових вузлах для високого захисту від корозії.
Довгострокова економія
-
Інноваційні функції для мінімізації споживання води, енергії та миючих засобів.
-
Automatic Savings: зважує білизну та підлаштовує рівень води під завантаження (економія води й енергії при неповному завантаженні).
-
Power Balance: вимірює дисбаланс, коригує його та регулює G‑силу в реальному часі (максимізація зневоднення, економія часу/коштів на сушінні).
-
Pure control: моніторинг стану та продуктивності обладнання звідусіль для оперативних дій і покращення бізнес‑показників.
-
Пральні машини можна підключати до OnE Laundry — персонального асистента для валідації гігієни, керування процесами та керування доходами.
Основні опції (комплектація/додатково)
-
Certus Management Information System (CMIS) для простежуваності білизни відповідно до стандартів RABC (Risk Analysis and Bio contamination Control).
-
Контейнер для мийних засобів на 4 відділення.
-
Економія хімії завдяки Efficient dosing: ED перистальтичні помпи та ED Venturi.
-
Клапан титрування для відбору проб із ванни (bath sampling).
-
Другий дисплей зі сторони вивантаження для кращого контролю процесу та продуктивності.
-
Корпус з нержавіючої сталі для агресивних середовищ.
Сертифікація та ступінь захисту
-
Виробництво за ISO 9001 та ISO 14001.
-
Сертифікації: CB (Low Voltage Directive) та S‑mark (Machinery Directive).
-
Клас захисту: IP X4D.
Електричні підключення (електронагрів)
Колонки: основна напруга / фази / Гц / потужність нагріву (кВт) / загальна потужність (кВт) / рекомендований запобіжник (А).
-
200V, 3~, 50/60: 12.5 / 12.9 / 50A.
-
220–240V, 3~, 50/60: 9.1–10.8 / 9.4–11.1 / 35A.
-
220–240V, 3~, 50/60: 15.1–18.0 / 15.5–18.3 / 50A.
-
380–415V, 3~, 50/60: 9.0–10.8 / 9.4–11.1 / 20A.
-
380–415V, 3~, 50/60: 15.0–17.9 / 15.4–18.3 / 35A.
-
440–480V, 3~, 60: 18.0 / 18.4 / 25A.
Примітка: для варіантів без нагріву/з паровим нагрівом загальна потужність і рекомендований запобіжник не залежать від потужності нагріву.
-
200V, 3~, 50/60: 1 / 2.4 / 10A.
Підключення води та пари
-
Водяні клапани: DN 32.
-
Тиск води: 150–400 кПа.
-
Продуктивність при 300 кПа: 60 л/хв.
-
Зливний клапан: 110 мм.
-
Продуктивність зливу: 150 л/хв.
-
Паровий клапан: DN 25.
-
Тиск пари: 300–600 кПа.
-
Подачі рідких мийних засобів: 5.
Вимоги до підлоги / шум / тепловиділення
-
Частота динамічної сили: 14.3 Гц.
-
Навантаження на підлогу при максимальному віджимі: 2.9 кН / 1.0 (як в оригіналі).
-
Рівень звукового тиску: 75 dBA.
-
Тепловиділення від встановленої потужності (макс.): 5 (значення наведено як в оригіналі без одиниць).
Примітка: рівні звукової потужності виміряні згідно ISO 60704.
Дані відвантаження та аксесуари
-
Маса нетто: 2600 кг.
-
Об’єм для відвантаження: 5,73 м³.
-
Аксесуари: сталева основа (x), комплекти шлангів для води або пари (x), додаткова IO‑плата для додаткових сигналів дозування (x).
Примітка: дані усереднені; вага/об’єм у тарі залежать від конфігурації — для точних значень потрібні дані логістики.
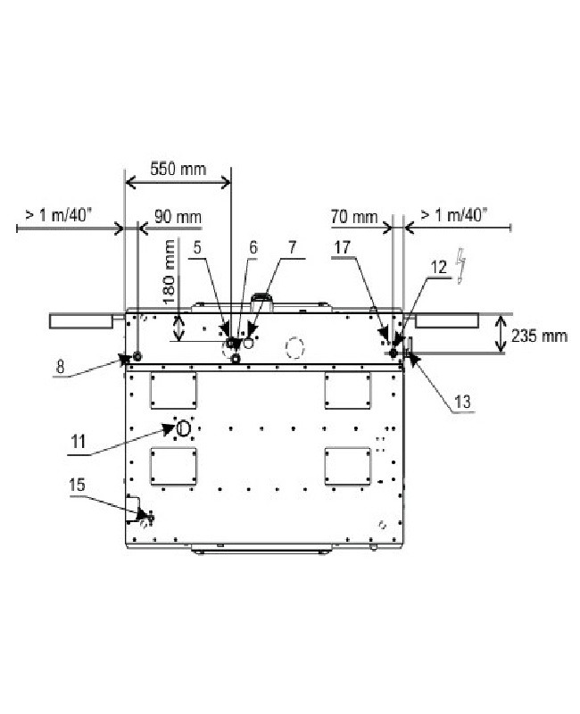
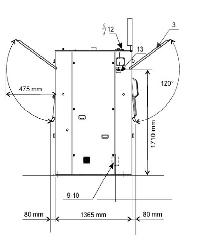
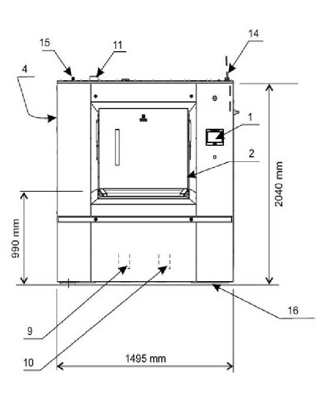
Позначення елементів (за схемою)
-
Панель керування.
-
Контейнер для мийних засобів.
-
Подача рідкого мийного засобу.
-
Електричне підключення.
-
Холодна вода.
-
Гаряча вода.
-
Холодна/гаряча вода.
-
Підключення пари.
-
Злив.
-
Відкривання дверей, сторона завантаження: 320 × 280 мм.
-
Відкривання дверей, сторона вивантаження: 435 мм.
-
Цоколь.
-
Бар’єрна рама.
-
Бар’єрна перегородка.
Чому це вигідно?
Бар’єрний формат зменшує ризики перехресного забруднення за рахунок розділення зон, що прямо відповідає потребам лікарень, харчових і «чутливих» виробництв.
Висока швидкість віджиму (350G) допомагає зменшувати витрати часу на сушіння та підвищує throughput пральні без збільшення кількості обладнання.
Таблиця характеристик
| Характеристика | Значення |
|---|---|
| Модель | Electrolux Professional WB6-70 (Line 6000 Pullman) |
| Тип | Бар’єрна/прохідна прально‑віджимна машина (Barrier Washer Evolution) |
| Номінальна місткість | 70 кг (filling factor 1:10) |
| Об’єм барабана | 690 л |
| Діаметр барабана | Ø 1050 мм |
| Віджим | 720 rpm |
| G‑factor | 300 |
| Нагрів (стандарт) | Електричний 54 kW; також варіант steam (пар) , Gas (газовий нагрів) |
| Дані споживання | Є дані для “Normal 60°C (6H03)” |
WB6-70 — сучасна заміна попереднього покоління 70 кг
Electrolux Professional WB6-70 (Line 6000 Pullman) — актуальна модель на 20 кг, яка прийшла на зміну попередньому поколінню бар’єрних машин WSB5700H / WS5700H, із завантаженням 70 кг, що тривалий час були стандартом у професійних пральнях.
Перехід на Line 6000 дає практичні вигоди в щоденній експлуатації: нова лінійка орієнтована на посилений контроль гігієни, підвищену безпеку оператора та зручність роботи у «чутливих» середовищах (медицина, харчові виробництва, чисті зони).
Чому WB6-70 краща
-
Сучасний “hygiene-first” підхід: Line 6000 Barrier Washers підкреслено створена для фізичного розділення «брудної»/«чистої» зон та мінімізації ризиків перехресної контамінації.
-
Додаткові інструменти безпеки та контролю процесу: для лінійки зазначено функцію Hygiene Watchdog, яка запобігає випадковому відкриванню дверей і допомагає уникати помилок персоналу в гігієнічних сценаріях.
-
Більш прогнозована продуктивність у циклі 70 кг: у WB6-70 зафіксовано місткість 70 кг (1:10), барабан 690 л, віджим 720 rpm і G‑factor 300 — це чіткі опорні параметри для розрахунку пропускної здатності та інтеграції в технологічну схему пральні.
-
Підтверджені дані споживання: у data sheet наведені показники для програми “Normal 60°C (6H03)”, що дозволяє коректніше продавати модель через економіку циклу (вода/енергія) у комерційній пропозиції.





